LillyAllenDesigns
Jasminsmagicworld
BarkalooDesign
Artiststas
AdoDesignShop
JahusDesignShop
BundleAndBundleShop
HRA Design Shop
FaDigitalArtStudio
Enoddigitalart@gmail.com
Afrowomandigitalshop@gmail.com
OliviaCreatesArt
CowGirlArtShop
HowdyJamesFarm
TumblerDesignByShophia
RanaPortraitStore
CTS Tumbler Store
Zillion Design Studio
NancyCooperArtShop
Texasbilliewilder
MaliasSmallBusiness
Muks_Shop
Rvexell
NReaL
Oittostudio
Nteklah
Melllux
PUBLICTEES
Gear_desain
Erdiyan
C
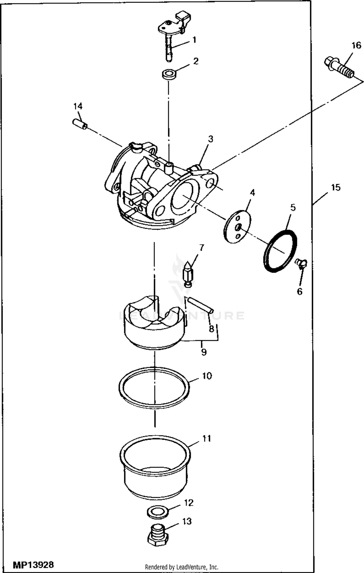
John Deere 21 IN Walk Behind Mowers Silver 12PB 12SB 12PC 14PB 14SB 14SE 14PZ 14SZ 14SC 14SX SN 010001 21 IN 4Cycle Walk Behind Rotary Mowers Kawasaki Engines PC2264 CARBURETOR INTAKE PIPE FUEL LINE... Very well made.
John deere 14 sz walk behind mower service repair manual PDF Free Download Very well made.
12 MOWER WALK BEHIND Carburetor EPC John Deere CCE online AVS.Parts Very well made.
John Deere BRIGGS AND STRATTON 4 CYCLE ENGINE MOWER MODELS 14PZ 14SZ LG498826 Carburetor Engine MARKED 12F702 OR 12J802 Very well made.
Carburetor Kit Fit for John Deere 14SB JE75 JX75 JX85 21Inch Walk Behind Mower Fit for Kawasaki 7PCS Engine Parts Lawn Mower Replacement Parts Very well made.